空氣冷卻器系列
空氣冷卻器
發布時間:2018-04-19 點擊次數:21182 次
![]() |
![]() |

空氣冷卻器是以環境空氣作為冷卻介質,對管內高溫流體進行冷卻或冷凝的設備,它具有不需要水源,適用于高溫、高壓的工藝條件,使用壽命長,運轉費用低等優點,廣泛應用于石油化工,煤化工,電站,冶金等行業。等隨著水資源和能源的匱乏以及環保意識的增強,節水、節能、無污染的空氣冷卻器將會得到廣泛的應用。
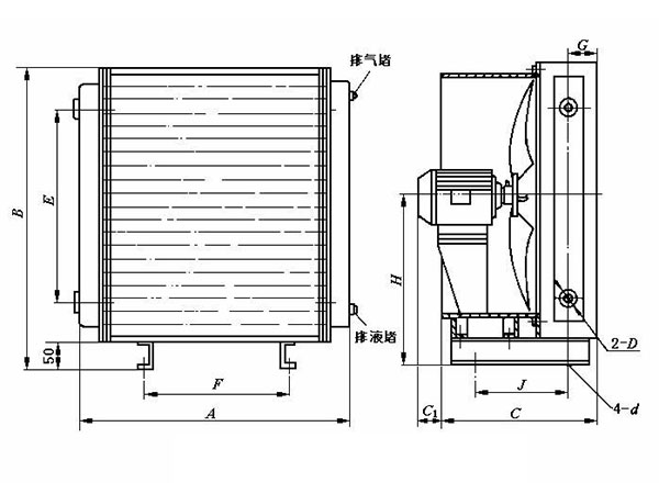
空氣冷卻器型式
空氣冷卻器的應用
與水作為冷卻介質的傳統工業冷卻系統相比,空氣冷卻器的優點如下表所示:
空 冷
1、對環境沒有熱污染和化學污染。
2、空氣可隨意取得,不需任何附屬設備和費用。選廠址不受限制,這對無水和缺水地區尤為重要。
3、空氣腐蝕性小,不需要除垢和清洗,使用壽命長。
4、空氣的壓降僅有98~196Pa,故空冷的操作費用低。
5、空冷系統的維護費用。一般情況下僅為水冷系統的20% ~ 30% 。
6、一旦風機電源被切斷,仍有30%~40%的自然冷卻能力。
水 冷空氣冷卻器型式

與水作為冷卻介質的傳統工業冷卻系統相比,空氣冷卻器的優點如下表所示:
空 冷
1、對環境沒有熱污染和化學污染。
2、空氣可隨意取得,不需任何附屬設備和費用。選廠址不受限制,這對無水和缺水地區尤為重要。
3、空氣腐蝕性小,不需要除垢和清洗,使用壽命長。
4、空氣的壓降僅有98~196Pa,故空冷的操作費用低。
5、空冷系統的維護費用。一般情況下僅為水冷系統的20% ~ 30% 。
6、一旦風機電源被切斷,仍有30%~40%的自然冷卻能力。
1、排放水對環境有熱污染,也常有化學污染。
2、冷卻水往往受水源限制,要設置管線和泵站等設施,特別對較大的廠,選廠址時必須考慮有充足的水源。
3、水腐蝕性強,也易于結垢,需要進行處理。
4、循環水壓頭高,故水冷的能耗較高。
5、由于水冷設備多。易于結垢,在溫暖氣候條件下易生成微生物,附于冷卻器表面,常需停工清洗。
6、電源一斷,即要被迫全部停產。
- 上一篇:沒有了
- 下一篇:翅片管式空氣冷卻器
相關產品

空氣冷卻器系列





